Option 1. Enter your TruU PIN

Option 2. Use your Fingerprint

Option 3. Use your Face ID and look into your Camera


Enroll your Entra Joined Windows Enroll Biometrics
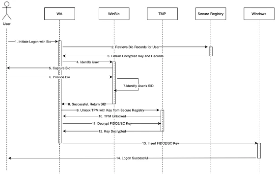
This guide provides a step-by-step tutorial as to how to login on your Windows device enrolled utilizing TruU, as well as what the login experience would look like.



